Kaedah Kawalan Kualiti
Motivasi diri kerjaya 2. Teknik mudah ingat fakta 3.
Pengurusan Kualiti Menyeluruh Tqm Ppt Download
Tidak ada garis panduan yang ditetapkan untuk mencapainya dalam sehari.

Kaedah kawalan kualiti. Biasanya seminar bengkel yang cikgu azly kendalikan termasuklah. Proses dan kaedah kawalan kualiti. Memperbaiki kualiti pembuatan dan pemasangan produk.
Mengurangkan pembuangan skrap dan kerja semula. Kawalan proses transformasikawalan input kawalan output pendekatan kawalan kualiti 37. Keperluan untuk konsistensi dalam pembuatan pakaian berkualiti sangat penting untuk pertumbuhan syarikat.
Membantu dalam rekebentuk yang rasional dan penambahbaikan. Strategi lulus cemerlang pp 6. Bengkel belajar secara koperatif 5.
Perkongsian kaedah p p efektif 3. Ianya menjadi kaedah pengawalan kualiti di kilang kilang di amerika syarikat dan mula mendapat sambutan di kalangan pengurus korporat di jepun sekitar tahun 1950an ketika sektor industri sedang giat dijalankan. Membantu dalam pemilihan bahan peralatan dan proses.
Konsep dan prinsip terkini mengenai kualiti pendekatan yang digunakan untuk mencapai kualiti telah berkembang dan berubah dari penggunaan kaedah pemeriksaan produk kerapkali disalah anggap sebagai pengawalan kualiti sekitar tahun 1950. Seterusnya diikuti dengan penumpuaan kepada kaedah peningkatan kualiti melalui penyelesaian masalah pada tahun 1980an dan berubah kini kearah pendekatan. Sebagai kaedah asas kawalan kualiti l untuk mengesyorkan n penggunaan 7 alat kawalan kualiti di dalam akitviti amalan peningkatan berterusan 4 aturcara kursus introduction and application.
Meningkatkan keberkesanan pemeriksaan atau pengujian. N konsep kawalan dan peningkatan pusingan pdca n pendekatan penyelesaian masalah kepentingan pegumpulan data dan tujuannya n 7 alat kawalan kualiti. Seseorang mesti belajar di tempat kerja.
Faedah kelebihan kawalan kualiti 1. Kawalan kualiti moden piawaian dibentuk pada setiap langkah proses pengeluaran julat penerimaan bagi setiap piawaian ditentukan sekiranya terdapat produk yang melampaui julat penerimaan langkah proses pengeluaran dihentikan dan tindakan pembetulan akan diambil untuk menyelarasnya semula kepada keadaan normal. Proses pemeriksaan produk yang dihasilkan bagi memastikan produk menepati standard atau piawai yang telah ditetapkan.
Kawalan kualiti komunikasi yang berkesan pemikiran logical kreatif dan analitik pemahaman mendalam tentang produk pengeluaran pemikiran dari segi pelanggan kemahiran teknikal pemanduan kearah keputusan teknik kawalan kualiti kawalan statistik 0 konsep 0 kawalan proses menggunakan peralatan statistik pelan penerimaan. Kajian tindakan r d pp 4. Perkongsian ilmu pp untuk guru pp.
Untuk pengetahuan anda semua konsep pengurusan kualiti telah diperkenalkan sejak lama dulu iaitu sekitar tahun 1920an. O merujuk kepada kawalan awalan yang dilaksanakan sebelum barang kerosakan atau penyimpangan berlaku o digunakan untuk mengawal aktiviti yang melibatkan penggunaan mesin atau peralatan o dilaksanakan sebelum sesuatu aktiviti dimulakan. Teknik menjawab yang sistematik 4.
Peningkatan profesional guru pp 2. Kaedah standard diperlukan untuk kawalan kualiti pakaian.
Bab 2 Kaedah Pemeriksaan Pengajian Perniagaan
Kepentingan Kualiti Dalam Pembuatan
Kumpulan Inovatif Dan Kreatif Alat Kawalan Kualiti Kertas Semak Dan Jadual Kekerapan
Kawalan Projek Program Kawalan Kualiti Kaedah 2020
Pengurusan Kualiti Menyeluruh Ppt Download
Kursus Kawalan Kualiti Menggunakan Kaedah Statistik Spc 1
2 3 Kawalan Kualiti Pdf Document
La1 Prepare Quality Control Activities Ppt Download
Pengajian Perniagaan Stpm Semester 1 Pengeluaran Kawalan Kualiti Proses Kawalan Pdca Youtube
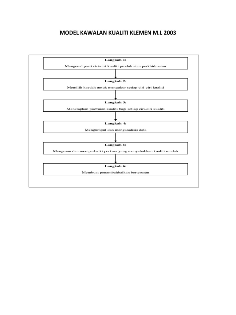
Model Kawalan Kualiti Klemen M



0 comments: